
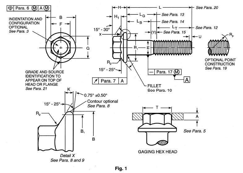
| Nominal Size or Basic Major Dia of Thread | E | F | G | B | K | H | H1 | R2 | A | ||||||
|---|---|---|---|---|---|---|---|---|---|---|---|---|---|---|---|
| Body Dia | Width Across Flats | Width Across Corners | Flange Dia | Flange Thickness | Head Height | Hex Height | Flange Top Radius | Gaging Ring Thickness | |||||||
| Max | Min | Basic | Max | Min | Max | Min | Max | Min | Max | Min | Max | Max | Min | ||
| ¼ | 0.2500 | 0.2500 | 0.2450 | 3/8 | 0.3750 | 0.367 | 0.433 | 0.409 | 0.56 | 0.04 | 0.28 | 0.17 | 0.015 | 0.0514 | 0.0511 |
| 5⁄16 | 0.3125 | 0.3125 | 0.3065 | 1/2 | 0.5000 | 0.489 | 0.577 | 0.548 | 0.68 | 0.05 | 0.32 | 0.21 | 0.019 | 0.0643 | 0.0640 |
| ⅜ | 0.3750 | 0.3750 | 0.3690 | 9/16 | 0.5625 | 0.551 | 0.650 | 0.618 | 0.081 | 0.06 | 0.39 | 0.25 | 0.022 | 0.0771 | 0.0768 |
| 7⁄16 | 0.4375 | 0.4375 | 0.4305 | 5/8 | 0.6250 | 0.612 | 0.722 | 0.685 | 0.93 | 0.07 | 0.46 | 0.30 | 0.026 | 0.0900 | 0.0897 |
| ½ | 0.5000 | 0.5000 | 0.4930 | 3/4 | 0.7500 | 0.736 | 0.866 | 0.825 | 1.07 | 0.08 | 0.51 | 0.34 | 0.030 | 0.1029 | 0.1026 |
| 9⁄16 | 0.5625 | 0.5625 | 0.5545 | 13⁄16 | 0.8125 | 0.798 | 0.938 | 0.895 | 1.19 | 0.09 | 0.57 | 0.38 | 0.034 | 0.1157 | 0.1154 |
| ⅝ | 0.6250 | 0.6250 | 0.6170 | 15⁄16 | 0.9375 | 0.922 | 1.083 | 1.034 | 1.33 | 0.10 | 0.62 | 0.42 | 0.036 | 0.1286 | 0.1283 |
| ¾ | 0.7500 | 0.7500 | 0.7410 | 1-⅛ | 1.1250 | 1.100 | 1.299 | 1.234 | 1.59 | 0.11 | 0.73 | 0.51 | 0.045 | 0.1543 | 0.1540 |
| See Para. 23 | 18 | 5 | 8 | 4 | 8 | 5 | |||||||||
| Nominal Size or Basic Major Dia of Thread | T | B1 | Runout of Bearing Surface FIM | Lr | Y | ||||
|---|---|---|---|---|---|---|---|---|---|
| Gaging Ring Dia | Bearing Dia | Thread Length | Transition Thread Length | ||||||
| For Screws with L ≤ 6 in. | For Screws with L > 6 in. | For Screws with L ≤ 6 in. | For Screws with L > 6 in. | ||||||
| Max | Min | Min | Max | Basic | Max | Max | |||
| ¼ | 0.2500 | 0.4093 | 0.4090 | 0.48 | 0.010 | 0.750 | 1.000 | 0.400 | 0.650 |
| 5⁄16 | 0.3125 | 0.5483 | 0.5480 | 0.60 | 0.011 | 0.875 | 1.125 | 0.417 | 0.667 |
| ⅜ | 0.3750 | 0.6183 | 0.6180 | 0.73 | 0.012 | 1.000 | 1.250 | 0.438 | 0.688 |
| 7⁄16 | 0.4375 | 0.6853 | 0.6850 | 0.85 | 0.013 | 1.125 | 1.375 | 0.464 | 0.714 |
| ½ | 0.5000 | 0.8253 | 0.8250 | 0.98 | 0.014 | 1.250 | 1.500 | 0.481 | 0.731 |
| 9⁄16 | 0.5625 | 0.8953 | 0.8950 | 1.10 | 0.015 | 1.375 | 1.625 | 0.750 | 0.750 |
| ⅝ | 0.6250 | 1.0343 | 1.0340 | 1.26 | 0.017 | 1.500 | 1.750 | 0.773 | 0.773 |
| ¾ | 0.7500 | 1.2343 | 1.2340 | 1.47 | 0.020 | 1.750 | 2.000 | 0.800 | 0.800 |
| See Para. 23 | 5 | 9 | 7 | 12 | 15 | ||||

| Nominal Size or Basic Product Dia | Long Screws (Fig.2) |
Long and Short Screws | Short Screw1 (FIg.3) |
||||||
|---|---|---|---|---|---|---|---|---|---|
| Ea | La | R1 | Ea | E1a | Lf | ||||
| Fillet Transition Dia | Fillet Length | Radius of Fillet | Filler Transition Dia | Fillet Length | |||||
| Max | Min | Max | Min | Max | Max | Max | Max | ||
| ¼ | 0.2500 | 0.300 | 0.280 | 0.087 | 0.025 | 0.015 | 0.300 | 0.236 | 0.043 |
| 5⁄16 | 0.3125 | 0.362 | 0.342 | 0.087 | 0.025 | 0.015 | 0.362 | 0.300 | 0.045 |
| ⅜ | 0.3750 | 0.425 | 0.405 | 0.087 | 0.025 | 0.015 | 0.425 | 0.357 | 0.048 |
| 7⁄16 | 0.4375 | 0.488 | 0.468 | 0.087 | 0.025 | 0.015 | 0.488 | 0.416 | 0.052 |
| ½ | 0.5000 | 0.550 | 0.530 | 0.087 | 0.025 | 0.015 | 0.550 | 0.477 | 0.053 |
| 9⁄16 | 0.5625 | 0.652 | 0.602 | 0.157 | 0.045 | 0.020 | 0.652 | 0.527 | 0.075 |
| ⅝ | 0.6250 | 0.715 | 0.665 | 0.157 | 0.045 | 0.020 | 0.715 | 0.587 | 0.078 |
| ¾ | 0.7500 | 0.840 | 0.790 | 0.157 | 0.045 | 0.020 | 0.840 | 0.709 | 0.081 |
Note: Short screw are screws which are threaded full length.

| Nominal Size or Basic Product Dia | For Nominal Produc Lengths | LG Max |
For Nominal Product Lengths | LG Max |
LB Min |
|
|---|---|---|---|---|---|---|
| Less Than or Equal to | All Thread Series | Greater Than | Less Than or Equal to | All Thread Series | All Thread Series | |
| ¼ | 0.500 | 0.075 | 0.500 | 1.250 | 0.162 | 0.087 |
| 5⁄16 | 0.625 | 0.083 | 0.625 | 1.375 | 0.170 | 0.087 |
| ⅜ | 0.750 | 0.094 | 0.750 | 1.500 | 0.181 | 0.087 |
| 7⁄16 | 0.875 | 0.107 | 0.875 | 1.750 | 0.194 | 0.087 |
| ½ | 1.000 | 0.115 | 1.000 | 1.875 | 0.202 | 0.087 |
| 9⁄16 | 1.125 | 0.125 | 1.125 | 2.250 | 0.282 | 0.157 |
| ⅝ | 1.250 | 0.136 | 1.250 | 2.500 | 0.293 | 0.157 |
| ¾ | 1.500 | 0.150 | 1.500 | 2.750 | 0.307 | 0.157 |
| See Notes | 1 | 2 | 4 | 3 | 5 | |
Note:
1. Tabulated values are equal to 2 times the basic product diameter.
2. Tabulated values are equal to 1.5 times the coarse thread (UNC) pitch.
3. Lmax equals fillet length, La max, as given in table 2 + 1.5 times the coarse
thread (UNC) pitch.
4.Nominal product length,max, equals 2.5 times the coarse thread (UNC) pitch +Y+Lr rounded down
to the next 0.250 or 0.125 length increment.

| Nominal Size or Basic Product Dia | Ea | EV | Lf | R3 | V | ||
|---|---|---|---|---|---|---|---|
| Undercut Dia | Fillet Dia | Fillet Length | Undercut Radius | Underut Depth | |||
| Max | Max | Max | Min | Max | Min | ||
| ¼ | 0.2500 | 0.325 | 0.275 | 0.058 | 0.010 | 0.010 | 0.004 |
| 5⁄16 | 0.3125 | 0.406 | 0.344 | 0.072 | 0.013 | 0.013 | 0.004 |
| ⅜ | 0.3750 | 0.488 | 0.413 | 0.086 | 0.015 | 0.015 | 0.005 |
| 7⁄16 | 0.4375 | 0.569 | 0.481 | 0.101 | 0.018 | 0.018 | 0.006 |
| ½ | 0.5000 | 0.650 | 0.550 | 0.115 | 0.020 | 0.020 | 0.007 |
| 9⁄16 | 0.5625 | 0.731 | 0.619 | 0.129 | 0.023 | 0.023 | 0.008 |
| ⅝ | 0.6250 | 0.813 | 0.688 | 0.144 | 0.025 | 0.025 | 0.009 |
| ¾ | 0.7500 | 0.975 | 0.825 | 0.173 | 0.030 | 0.030 | 0.011 |
| Nom Dia | 1/4 | 5/16 | 3/8 | 7/16 | 1/2 | 9/16 | 5/8 | 3/4 | ||||||||
|---|---|---|---|---|---|---|---|---|---|---|---|---|---|---|---|---|
| Nom Lengths | LB Min |
LG Max |
LB Min |
LG Max |
LB Min |
LG Max |
LB Min |
LG Max |
LB Min |
LG Max |
LB Min |
LG Max |
LB Min |
LG Max |
LB Min |
LG Max |
| 1-1/4 | ||||||||||||||||
| 1-3/8 | 0.225 | 0.625 | ||||||||||||||
| 1-1/2 | 0.350 | 0.750 | 0.208 | 0.625 | ||||||||||||
| 1-5/8 | 0.475 | 0.875 | 0.333 | 0.750 | 0.187 | 0.625 | ||||||||||
| 1-3/4 | 0.600 | 1.000 | 0.458 | 0.875 | 0.312 | 0.750 | ||||||||||
| 1-7/8 | 0.725 | 1.125 | 0.583 | 1.000 | 0.437 | 0.875 | 0.286 | 0.750 | ||||||||
| 2 | 0.850 | 1.250 | 0.708 | 1.125 | 0.562 | 1.000 | 0.411 | 0.875 | 0.269 | 0.750 | ||||||
| 2-1/8 | 0.975 | 1.375 | 0.833 | 1.250 | 0.687 | 1.125 | 0.536 | 1.000 | 0.394 | 0.875 | ||||||
| 2-1/4 | 1.100 | 1.500 | 0.958 | 1.375 | 0.812 | 1.250 | 0.661 | 1.125 | 0.519 | 1.000 | ||||||
| 2-3/8 | 1.225 | 1.625 | 1.083 | 1.500 | 0.937 | 1.375 | 0.786 | 1.250 | 0.644 | 1.125 | 0.250 | 1.000 | ||||
| 2-1/2 | 1.350 | 1.750 | 1.208 | 1.625 | 1.062 | 1.500 | 0.911 | 1.375 | 0.769 | 1.250 | 0.375 | 1.125 | ||||
| 2-5/8 | 1.475 | 1.875 | 1.333 | 1.750 | 1.187 | 1.625 | 1.036 | 1.500 | 0.894 | 1.375 | 0.500 | 1.250 | 0.352 | 1.125 | ||
| 2-3/4 | 1.600 | 2.000 | 1.458 | 1.875 | 1.312 | 1.750 | 1.161 | 1.625 | 1.019 | 1.500 | 0.625 | 1.375 | 0.477 | 1.250 | ||
| 2-7/8 | 1.725 | 2.125 | 1.583 | 2.000 | 1.437 | 1.875 | 1.286 | 1.750 | 1.144 | 1.625 | 0.750 | 1.500 | 0.602 | 1.375 | 0.325 | 1.125 |
| 3 | 1.850 | 2.250 | 1.708 | 2.125 | 1.562 | 2.000 | 1.411 | 1.875 | 1.269 | 1.750 | 0.875 | 1.625 | 0.727 | 1.500 | 0.450 | 1.250 |
| 3-1/4 | 2.100 | 2.500 | 1.958 | 2.375 | 1.812 | 2.250 | 1.661 | 2.125 | 1.519 | 2.000 | 1.125 | 1.875 | 0.977 | 1.750 | 0.700 | 1.500 |
| 3-1/2 | 2.350 | 2.750 | 2.208 | 2.625 | 2.062 | 2.500 | 1.911 | 2.375 | 1.769 | 2.250 | 1.375 | 2.125 | 1.227 | 2.000 | 0.950 | 1.750 |
| 3-3/4 | 2.600 | 3.000 | 2.458 | 2.875 | 2.312 | 2.750 | 2.161 | 2.625 | 2.019 | 2.500 | 1.625 | 2.375 | 1.477 | 2.250 | 1.200 | 2.000 |
| 4 | 2.850 | 3.250 | 2.708 | 3.125 | 2.562 | 3.000 | 2.411 | 2.875 | 2.269 | 2.750 | 1.875 | 2.625 | 1.727 | 2.500 | 1.450 | 2.250 |
| 4-1/4 | 3.100 | 3.500 | 2.958 | 3.375 | 2.812 | 3.250 | 2.661 | 3.125 | 2.519 | 3.000 | 2.125 | 2.875 | 1.977 | 2.750 | 1.700 | 2.500 |
| 4-1/2 | 3.350 | 3.750 | 3.208 | 3.625 | 3.062 | 3.500 | 2.911 | 3.375 | 2.769 | 3.250 | 2.375 | 3.125 | 2.227 | 3.000 | 1.950 | 2.750 |
| 4-3/4 | 3.600 | 4.000 | 3.458 | 3.875 | 3.312 | 3.750 | 3.161 | 3.625 | 3.019 | 3.500 | 2.625 | 3.375 | 2.477 | 3.250 | 2.200 | 3.000 |
| 5 | 3.850 | 4.250 | 3.708 | 4.125 | 3.562 | 4.000 | 3.411 | 3.875 | 3.269 | 3.750 | 2.875 | 3.625 | 2.727 | 3.500 | 2.450 | 3.250 |
| 5-1/4 | 4.100 | 4.500 | 3.958 | 4.375 | 3.812 | 4.250 | 3.661 | 4.125 | 3.519 | 4.000 | 3.125 | 3.875 | 2.977 | 3.750 | 2.700 | 3.500 |
| 5-1/2 | 4.350 | 4.750 | 4.208 | 4.625 | 4.062 | 4.500 | 3.911 | 4.375 | 3.769 | 4.250 | 3.375 | 4.125 | 3.227 | 4.000 | 2.950 | 3.750 |
| 5-3/4 | 4.600 | 5.000 | 4.458 | 4.875 | 4.312 | 4.750 | 4.161 | 4.625 | 4.019 | 4.500 | 3.625 | 4.375 | 3.477 | 4.250 | 3.200 | 4.000 |
| 6 | 4.850 | 5.250 | 4.708 | 5.125 | 4.562 | 5.000 | 4.411 | 4.875 | 4.269 | 4.750 | 3.875 | 4.625 | 3.727 | 4.500 | 3.450 | 4.250 |
| 6-1/4 | 4.600 | 5.250 | 4.458 | 5.125 | 4.312 | 5.000 | 4.161 | 4.875 | 4.019 | 4.750 | 3.875 | 4.625 | 3.727 | 4.500 | 3.450 | 4.250 |
| 6-1/2 | 4.850 | 5.500 | 4.708 | 5.375 | 4.562 | 5.250 | 4.411 | 5.125 | 4.269 | 5.000 | 4.125 | 4.875 | 3.977 | 4.750 | 3.700 | 4.500 |
| 6-3/4 | 5.100 | 5.750 | 4.958 | 5.625 | 4.812 | 5.500 | 4.661 | 5.375 | 4.519 | 5.250 | 4.375 | 5.125 | 4.227 | 5.000 | 3.950 | 4.750 |
GENERAL NOTE: Screw lengths above thick black line are fully threaded. See Para. 13.