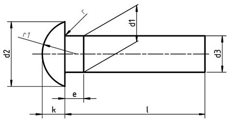
DIN 660 Round Head Rivets

Dimensions for DIN 660 Round Head Rivets
| d1 |
d2 |
d3 |
e |
k |
r |
r1 |
| Nominal |
Tolerance |
Nominal |
tolerance |
min. |
max |
js14 |
max |
approx |
| 1 |
± 0.05 |
1.8 |
h14 |
0.93 |
0.5 |
0.6 |
0.2 |
1 |
| 1.2 |
± 0.05 |
2.1 |
h14 |
1.13 |
0.6 |
0.7 |
0.2 |
1.2 |
| 1.4 |
± 0.05 |
2.4 |
h14 |
1.33 |
0.7 |
0.8 |
0.2 |
1.4 |
| 1.6 |
± 0.05 |
2.8 |
h14 |
1.52 |
0.8 |
1 |
0.2 |
1.6 |
| 2 |
± 0.1 |
3.5 |
h14 |
1.87 |
1 |
1.2 |
0.2 |
1.9 |
| 2.5 |
± 0.1 |
4.4 |
h14 |
2.37 |
1.25 |
1.5 |
0.2 |
2.4 |
| 3 |
± 0.1 |
5.2 |
h14 |
2.87 |
1.5 |
1.8 |
0.2 |
2.8 |
| 3.5 |
± 0.1 |
6.2 |
h15 |
3.37 |
1.75 |
2.1 |
0.3 |
3.4 |
| 4 |
± 0.1 |
7 |
h15 |
3.87 |
2 |
2.4 |
0.3 |
3.8 |
| 5 |
±0.15 |
8.8 |
h15 |
4.82 |
2.5 |
3 |
0.4 |
4.6 |
| 6 |
±0.15 |
10.5 |
h15 |
5.82 |
3 |
3.6 |
0.4 |
5.7 |
| 7 |
±0.15 |
12.2 |
h15 |
6.82 |
3.5 |
4.2 |
0.4 |
6.6 |
| 8 |
±0.15 |
14 |
h15 |
7.76 |
4 |
4.8 |
0.4 |
7.5 |